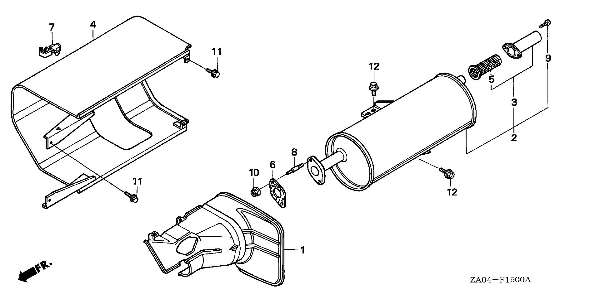
Generators EL EL5000 EL5000 A GX360-1000001-1017635 MUFFLER (1) - Tozier Brothers, Inc.

Ref No
Part Number
Description
Serial Range
Qty
Price

Ref No
2
Part Number
183A1-ZA0-631
Description
MUFFLER
Serial Range
1000001 - 1014720

Ref No
2
Part Number
183B1-ZA0-631
Description
MUFFLER (NOT AVAILABLE)
Serial Range
1014721 - 9999999

Ref No
3
Part Number
183A5-ZA0-630
Description
CAP SET, ARRESTER (NOT AVAILABLE)
Serial Range
1000001 - 1014720

Ref No
3
Part Number
183B5-ZA0-630
Description
CAP SET, ARRESTER (NOT AVAILABLE)
Serial Range
1014721 - 9999999

Ref No
4
Part Number
18325-ZA0-020
Description
SEPARATOR, MUFFLER
Serial Range
1000001 - 9999999
Qty
Price
$195.62

Ref No
5
Part Number
18355-890-630
Description
ARRESTER, SPARK
Serial Range
1000001 - 9999999

Ref No
6
Part Number
18381-ZA0-800
Description
GASKET, MUFFLER
Serial Range
1000001 - 9999999
Qty
Price
$6.48

Ref No
8
Part Number
92900-08019-0B
Description
BOLT, STUD (8X35)
Serial Range
1000001 - 9999999
Qty
Price
$2.54

Ref No
9
Part Number
93500-05008-0A
Description
SCREW, PAN (5X8)
Serial Range
1164882 - 9999999
Qty
Price
$1.06

Ref No
10
Part Number
94050-08080
Description
NUT, FLANGE (8MM)
Serial Range
1000001 - 9999999
Qty
Price
$1.18

Ref No
11
Part Number
95701-06012-00
Description
BOLT, FLANGE (6X12)
Serial Range
1000001 - 9999999
Qty
Price
$1.98

Ref No
12
Part Number
95700-08020-00
Description
BOLT, FLANGE (8X20)
Serial Range
1000001 - 9999999

Ref No
12
Part Number
95701-08020-00
Description
BOLT, FLANGE (8X20)
Serial Range
1000001 - 9999999
Qty
Price
$2.28