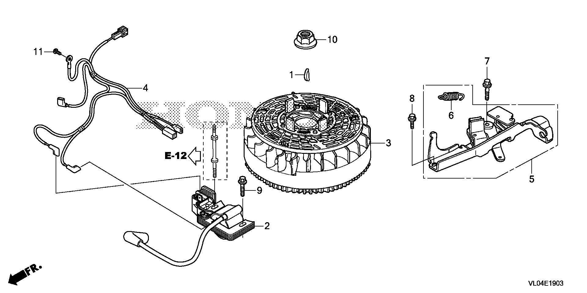
Lawn Mowers HRR HRR216 HRR216K11 VLAA MZCG-1660001-1760000 FLYWHEEL@IGNITION COIL (4) - Tozier Brothers, Inc.

Ref No
Part Number
Description
Serial Range
Qty
Price

Ref No
1
Part Number
13331-Z8B-900
Description
KEY, SPECIAL WOODRUFF (25X18)
Serial Range
1886101 - 9999999
Qty
Price
$6.08

Ref No
2
Part Number
30500-Z0L-M71
Description
COIL ASSY., IGNITION
Serial Range
1886101 - 3451324

Ref No
2
Part Number
30500-Z0L-M72
Description
COIL ASSY., IGNITION
Serial Range
1000001 - 9999999
Qty
Price
$46.95

Ref No
3
Part Number
31105-Z0Y-922
Description
FLYWHEEL ASSY.
Serial Range
1000001 - 2273647
Qty
Price
$67.78

Ref No
4
Part Number
32223-Z0L-M70
Description
WIRE, COMBINATION
Serial Range
1000001 - 9999999
Qty
Price
$60.22

Ref No
5
Part Number
75110-Z0L-825
Description
BRAKE SUB-ASSY.
Serial Range
1000001 - 9999999
Qty
Price
$14.18

Ref No
6
Part Number
75113-ZM0-000
Description
SPRING, BRAKE LEVER
Serial Range
1000001 - 9999999
Qty
Price
$3.00

Ref No
7
Part Number
90002-Z0L-820
Description
BOLT, FLANGE (6X23) (CT200)
Serial Range
1000001 - 9999999
Qty
Price
$0.38

Ref No
8
Part Number
90014-952-000
Description
BOLT, FLANGE (6X14) (CT200)
Serial Range
1000001 - 9999999
Qty
Price
$2.94

Ref No
9
Part Number
90018-ZE1-000
Description
BOLT, FLANGE (6X23) (CT200)
Serial Range
1000001 - 9999999
Qty
Price
$2.20

Ref No
10
Part Number
90201-Z0T-800
Description
NUT, SPECIAL (14MM)
Serial Range
1000001 - 9999999
Qty
Price
$2.84

Ref No
11
Part Number
93500-05008-0A
Description
SCREW, PAN (5X8)
Serial Range
1000001 - 9999999
Qty
Price
$1.10